• Предмет: Физика
  • Автор: fklfh
  • Вопрос задан 10 лет назад

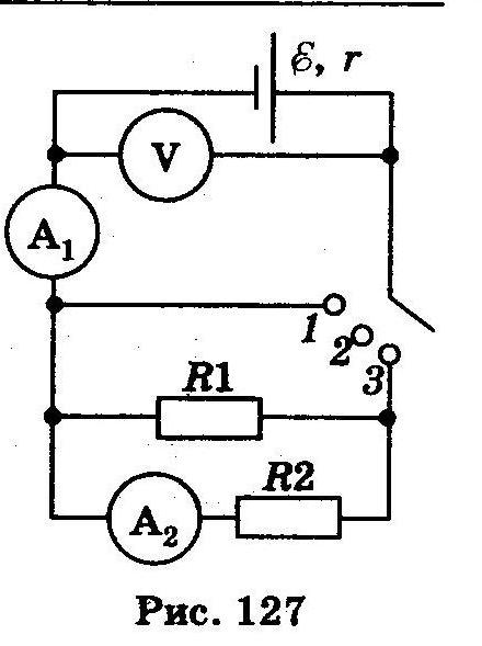
Что покажут амперметры и вольт­метр (рис. 127) при положениях пе­реключателя 1, 2, 3, если ЭДС ис­точника = 6 В, его внутреннее со­противление г = 1,2 Ом, R1 = 8 Ом и R2 = 4,8 Ом?

Приложения:

Ответа на этот вопрос пока нет. Попробуйте найти его через форму поиска.

Вас заинтересует