Ответы
Ответ дал:
0
var
i:integer;
b:array[1..9]of integer;
begin
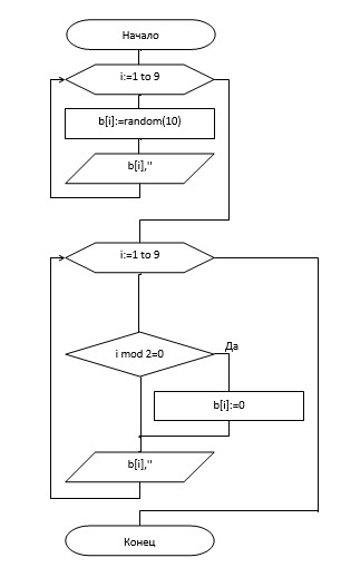
writeln('Исходный массив:');
for i:=1 to 9 do
begin
b[i]:=random(10);
write(b[i],' ');
end;
writeln;
writeln('Измененный массив:');
for i:=1 to 9 do
begin
if i mod 2=0 then b[i]:=0;
write(b[i],' ');
end
end.
i:integer;
b:array[1..9]of integer;
begin
writeln('Исходный массив:');
for i:=1 to 9 do
begin
b[i]:=random(10);
write(b[i],' ');
end;
writeln;
writeln('Измененный массив:');
for i:=1 to 9 do
begin
if i mod 2=0 then b[i]:=0;
write(b[i],' ');
end
end.
Приложения:
Ответ дал:
0
Спасибо огромное =)
Вас заинтересует
3 года назад
8 лет назад
11 лет назад
11 лет назад