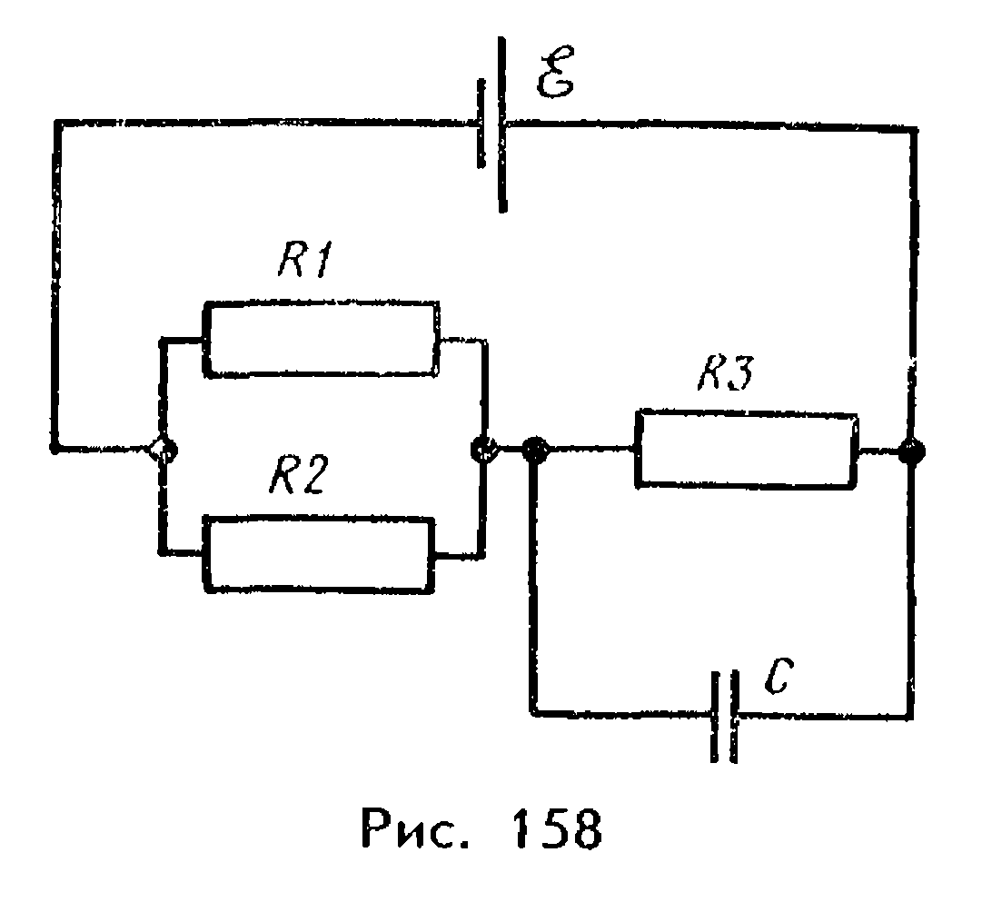
100 БалловВ цепь, питаемую элементом с внутренним сопротивлением 3 Ом, входят, как показано на рисунке , два резистора сопротивлениями Rl=R2=28 Ом, включенные параллельно, и сопротивление R3 = 40 Ом. Параллельно сопротивлению R3 подключен конденсатор ёмкость С=5 мкФ, заряд которого 1,1*10^-4 Кл. Определите ЭДС элемента.Без подробного решения-удалю!
Приложения:
Ответы
Ответ дал:
0
1) найдем общее сопротивление цепи внешней
R=R1/2 +R3=14+40=54 Ом
2) по закону ома для полной цепи I=e/(R+r)
е=I*(R+r)
3) I=U3/R3 U3=Uc=q/C=1,1*10^-4/5*10^-6=22 В
е=U3*(R+r)/R3=22*((54+3)/40=31,35 В
R=R1/2 +R3=14+40=54 Ом
2) по закону ома для полной цепи I=e/(R+r)
е=I*(R+r)
3) I=U3/R3 U3=Uc=q/C=1,1*10^-4/5*10^-6=22 В
е=U3*(R+r)/R3=22*((54+3)/40=31,35 В
Ответ дал:
0
В последней дроби Вы забыли к 54 прибавить 3. Ответ 31,35 В
Ответ дал:
0
Ко мне пришел ученик и я спешил вам не стыдно отмечать это как нарушение
Ответ дал:
0
Только человек невоспитанный мог это сделать я когда нахожу мелкие ошибки прошу поправить и никогда сразу не отмечаю как ошибку. Подлость не знает границ... Ненавижу таких...
Вас заинтересует
3 года назад
8 лет назад
8 лет назад
10 лет назад
10 лет назад
11 лет назад