Ответы
Ответ дал:
0
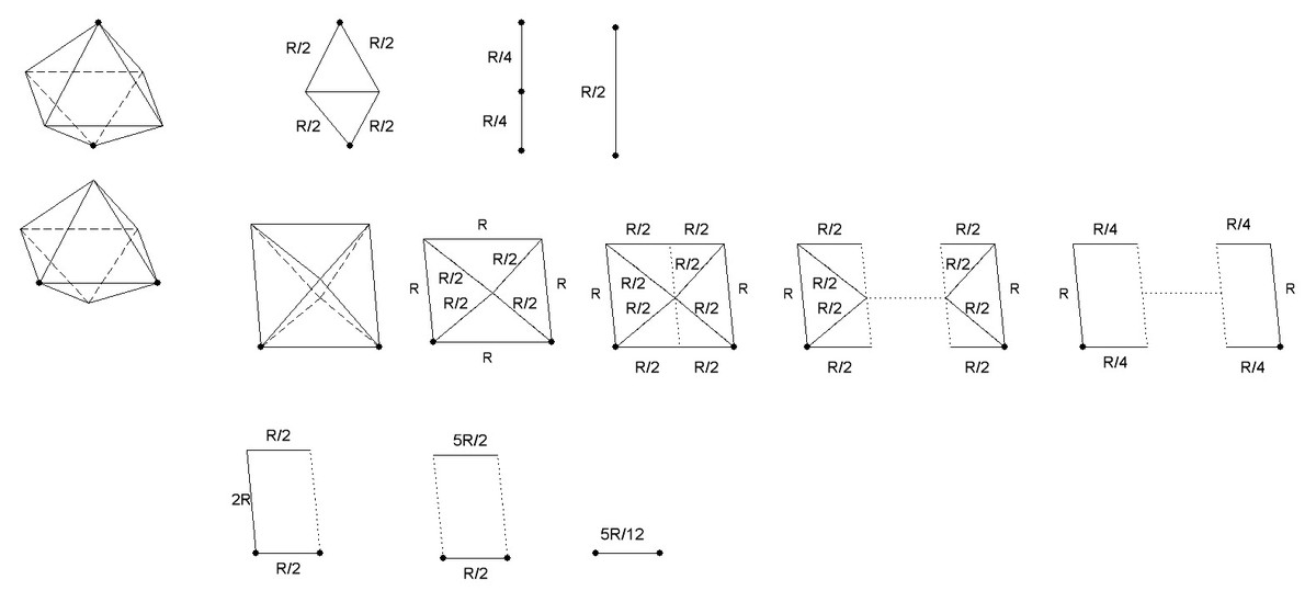
если R/2=18 то 5R/12 = 15
графическое пояснение во вложении
графическое пояснение во вложении
Приложения:
Ответ дал:
0
Не пойму, а что нужно округлить до целых?
Ответ дал:
0
5R/12, вместо R подставить 18 Ом чтоли, так?
Ответ дал:
0
если бы получилось дробное число - нужно было бы округлить
если R/2=18 то
R=36,
5R/12 = 15 - целый ответ, округлять не надо
если R/2=18 то
R=36,
5R/12 = 15 - целый ответ, округлять не надо
Ответ дал:
0
Спасибо :)
Вас заинтересует
3 года назад
3 года назад
8 лет назад
8 лет назад
10 лет назад
11 лет назад