Помогите с программированием пожалуйста 55 баллов
На с++

Приложения:

Ответы

Ответ дал: AlyaOsipova2709
0

Ответ:

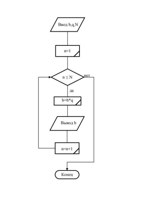
все алгоритмы циклические

Объяснение:

1.

#include <iostream>

using namespace std;

int main()

{

   int b,q,N;

   cin>>b>>q>>N;

   for(int i=0;i<N;i++){

       b*=q;

       cout<<b<<endl;

   }

   return 0;

}

2.

#include <iostream>

#include <algorithm>

#include <iomanip>

using namespace std;

int main()

{

   int x, d;

   cin>>x>>d;

   double D, y1=x, y;

   y=(x/y1+y1)/2;

       if(y1-y>0.0000000001){

           D=y1-y;

       }

       else{

           D=y-y1;

       }

   while(D>d){

       y=(x/y1+y1)/2;

       if(y1-y>0.0000000001){

           D=y1-y;

       }

       else{

           D=y-y1;

       }

       y1=y;

   }

   cout<<x<<" ";

   cout<<fixed;

   cout<<setprecision(5)<<y;

   return 0;

}

Вас заинтересует