• Предмет: Физика
  • Автор: mishafhxfh
  • Вопрос задан 2 года назад

!!СРОЧНО!!!
R1=20 R2=10 R3=10 R4=6 R5=85 R6=5 E,B=175 Вітка cd
1)Перетворити схему за допомогою еквівалентних перетворень з
використанням заміни «трикутника» опорів «зіркою», або навпаки.
2)Розрахувати еквівалентний опір, за допомогою формул послідовного і
паралельного з’єднання резисторів,
3)визначити загальну силу струму.

Приложения:

Ответы

Ответ дал: 555ai555
1

Ответ:

Объяснение:

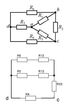
преобразуем треугольник R1, R2, R3 в звезду R13, R12, R23 (смотри рисунок)

R13 = R1*R3 / (R1+R2+R3) = 20*10 / (20+10+10) = 5 Ом

R12 = R1*R2 / (R1+R2+R3) = 20*10 / (20+10+10) = 5 Ом

R23 = R2*R3 / (R1+R2+R3) = 10*10 / (20+10+10) = 2,5 Ома

тогда найдем эквиваленты сопротивлений

r612 = R6+R12 = 5+5 = 10 Ом

r513 = R5+R13 = 85 + 5 = 90 Ом

r612513 = r612*r513 / (r612+r513) = 10*90 / (10+90) = 9 Ом

r23612513 = R23 + r612513 = 2.5+9 = 11.5 Ом

R = R4*r23612513 / (R4 + r23612513) = 6*11.5 / (6+11.5) = = 3.94 Ома

I = E / R = 175 / 3.94 = = 44.4 А

Приложения:

mishafhxfh: Спасибо профессор как всегда на высоте!
Cohendd: Здравствуйте! Попробуйте, пожалуйста, мой последний вопрос. Через уравнение параболы уже сделала. Но это не физика, не нравится. Если захотите, конечно.
mar4ak254: https://znanija.com/task/52278449 допоможіть будь ласка!
mishafhxfh: Допоможіть з останнім питанням в профілі
Вас заинтересует