кирик, 7 класс, достаточный уровень, стр. 79 №5. Срочно!
5. а) При помощи кусачек перекусывают гвоздь.Расстояние от оси вращения кусачек до гвоздь 2 см, а до точки приложения силы руки 16 см. Рука сжимает кусачки с силой 200 Н. Определите силу, действующую на гвоздь.
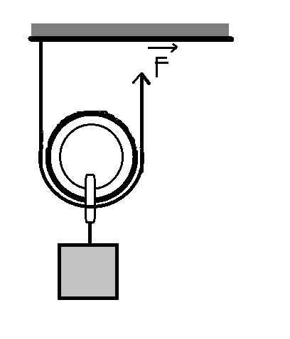
б) какой выигрыш в силе дает система, показанная на рисунке? (смотреть вложения). На сколько надо вытянуть в верх свободный конец веревки, чтобы груз поднялся на 25 см?
Приложения:
Ответы
Ответ дал:
0
А)f1/f2=s2/s1
16:2*200=1600H
б)дает выйгрышь в силе в 2 раза тк используется подвижный блок а подтянуть нужно на 17,5см ( 25/2)
16:2*200=1600H
б)дает выйгрышь в силе в 2 раза тк используется подвижный блок а подтянуть нужно на 17,5см ( 25/2)
Вас заинтересует
3 года назад
3 года назад
8 лет назад
8 лет назад
10 лет назад
10 лет назад
11 лет назад